SUACにおけるメディアアート活動の報告(2000-2001)

長嶋 洋一

要旨 コンピュータ音楽、インタラクティブ・メディアアート、メディア・インスタレーションなどに関するSUACでの2000年から2001年の活動について報告した。具体的には、(1) 本学紀要第1号(2000年)で紹介した事例に続く「インターカレッジ・コンピュータ音楽コンサート」での学生作品発表公演、(2) 2001年「SUAC公開デー」におけるインスタレーション学生作品発表展示、(3) 平成13年度学長特別研究費「新世紀メディアアートフェスティバル」プロジェクトのプロデュースと作品制作発表公演、(4) 平成13年度学長特別研究費「フランス・ドイツにおける文化交流」プロジェクトでの講演と公演、(5) 平成12年度/13年度学部長特別研究費「冥想空間」プロジェクトにおける検討・開発・展示公演等の活動、という5項目について報告した。いずれも単発で終わることなく将来への課題や展望という収穫があり、この新しい領域での今後の本学の活動が期待されるようになってきた意義は大きいと考える。

Report of Activities of SUAC in Media Art (2000-2001)

Yoichi Nagashima

This paper reports some activities in Media Art fields in 2000 - 2001. I report (1) Performance of one interactive computer music with installations created by students of SUAC in December 2000 in Tokyo, (2) Interactive installation work created by students of SUAC in May 2001, (3) "Media Art Festival 2001 in SUAC" held in August, producing, performances, etc, (4) The project "Workshops and Concerts" in France and Germany in September, and (5) Special project "meditation hall" in SUAC (2000-2001) activities. Now SUAC is well known as the pioneer of this field with these activities.


1. はじめに

筆者はこれまで、コンピュータ音楽を中心としたメディアアートに関するテーマの創作・研究活動を進めてきた。その詳細とSUACにおける2000年秋までの具体的な活動については、静岡文化芸術大学紀要第1号に寄稿した「インタラクティブ・メディアアートのためのヒューマンインターフェース技術造形」および公開Webを参照されたい。

本稿ではこれを受けて、メディアアートに関するSUACでの2000年末から2001年秋までの活動について報告する。具体的には、(1)2000年12月「インターカレッジ・コンピュータ音楽コンサート」でのSUAC学生作品発表公演、(2)2001年5月「SUAC一般公開デー」におけるインスタレーション学生作品発表展示、(3)平成13年度学長特別研究費「新世紀メディアアートフェスティバル」プロジェクトのプロデュースと作品制作発表公演、(4)平成13年度学長特別研究費「フランス・ドイツにおける文化交流」プロジェクトでの講演と公演、(5)平成12年度/13年度学部長特別研究費「冥想空間」プロジェクトにおける検討・開発・展示公演等の活動である。

2. インターカレッジ・コンピュータ音楽コンサート

コンピュータと音楽とに関する広範な領域を対象とした情報処理学会音楽情報科学研究会は、音楽にとどまらず、ヒューマンインターフェースや人工知能や認知科学やマルチメディア、バーチャルリアリティに関する研究者、専門家、芸術家などが多数参加している。音楽情報科学研究会は例年、年間に数回の研究会を開催しているが、特にここ数年、12月の研究会では「インターカレッジ・コンピュータ音楽コンサート」というイベントを開催してきた。これは、この分野で学ぶ学生の作品発表・交流の場として、主に国内の、時には海外の学生にとって、貴重な存在となっている。古典的スタイルの音楽コンサートだけでなく、映像作品の上映、インスタレーション作品の展示も含めたイベントである。

筆者は情報処理学会音楽情報科学連絡委員として音楽情報科学研究会の設立から関係していたこともあり、研究会ではSUACについて紹介するスタジオレポート発表をするとともに、既にインスタレーション作品発表やパフォーマンス制作を体験した技術造形学科学生の中から有志を募り、開学したばかりのSUACから、聴衆でなく作家としてのデビューを目指して参加(2000.12.16-17 東京工科大学)した。

参加形態としては、「造形作品を用いたパフォーマンス」という形の公演となった。これはメディアアートとしては、ある意味ではインスタレーション、ある意味では自然の状況を受け(光に反応)、そして「演奏時間」を持つ音楽(パフォーマンス)作品、でもある、という欲張った構想である。


図1. 作品"Windmill"のオブジェ

この作品 "Windmill" は上図のように、ステージ上に大小4個の学生の手作りの造形作品(光を受けて回る「風車」)があり、ここにライブ制御の照明や、サーチライトや光の遮蔽物を持った学生Performersが加わってパフォーマンスを行うものである。風車は変化する光とともに動きが変化し、この変化をセンシングした情報がMax上のアルゴリズム作曲系を駆動して、背景音響系とともに全体のサウンドを構成した。


図2. 作品"Windmill"の公演風景

この作品は、ステージ上に設置されたオブジェだけを見ていると、光センサを持ったインスタレーション作品として単にギャラリー展示するもの、と見えたかもしれない。しかし共同でこの作品を制作し、演出やリハーサルを重ねてPerformanceに至ったプロジェクトメンバーのレポートを検討すると、間違いなくこれはインタラクティブ・パフォーマンス作品であった。この作品においては、「楽器」の延長としてのセンサという形態でなく、明らかにオブジェ、という造形作品としての要素を強く打ち出すとともに、背景音響やPerformerに対応するサウンドの部分でもまさに音楽作品であった。そして人間とセンサとの間に「光」という自然環境要因が介在するとともに、複数のPerformerが振り付けまで考慮してパフォーマンスすることで、伝えるべきコンセプトの明確な、独特な表現空間を実現できた。

3. SUAC一般公開デー

2000年4月に開学したSUACは翌月に「一般公開デー」というイベントを開催したが、入学1ヶ月の技術造形学科学生有志とともに、1期生からメディア・インスタレーション作品を展示発表した。そして2年目の2001年5月にも開催されるということで、新たに入学直後の2期生の技術造形学科新入生の有志を募り、作品発表を行った。


図3. 作品「季幻」のレイアウトプラン

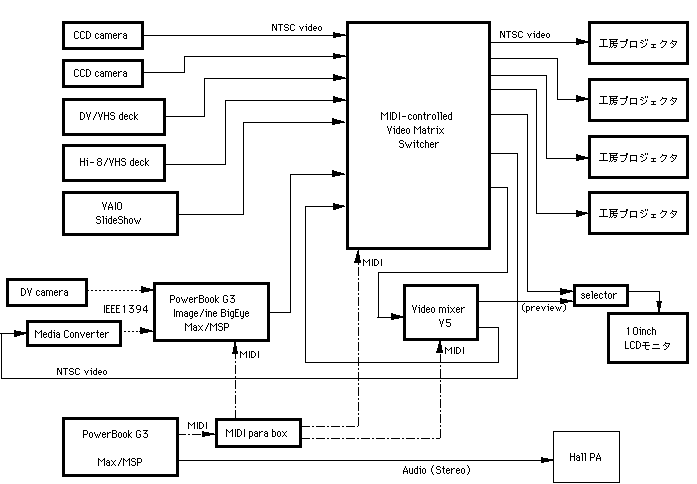
この作品「季幻」は、上の図3のような配置プランで、入場者の移動をセンシングして、複数の画像とサウンドを生成する体験型展示作品である。入学直後の新入生は、初めて触れるパソコンやPhotoshopに戸惑いながらも、テーマとコンセプトを議論して7人で合計80枚のCG作品を制作し、さらに小講義室を展示スペースとして構成するための造形物も共同制作した。システムは図4のように、6個のセンサ、7台のビデオデッキ、4台のプラズマディスプレイ、2台のプロジェクタ、4系統のサウンドシステムにより構成した。企画から展示発表まで連休を挟んで1ヶ月、CG制作2週間、造形制作1週間、電子系制作1日、プログラミング/作曲は数時間で展示中も進行、というスケジュールを学生は見事にこなした。


図4. 作品「季幻」のシステムブロック図


図5. 作品「季幻」の現地制作風景

4. 新世紀メディアアートフェスティバル

情報処理学会音楽情報科学研究会の研究会のうち、特に7-8月の時期に開催される通称「夏のシンポジウム」は合宿形式での議論討論を含む最大規模の研究会であり、研究発表会だけでなく、コンサート、作品展示、チュートリアル等の関連したイベントを開催することもあり、この分野では広く注目されてきた。そこで筆者は、事務局への打診のもと2000年夏に「SUACは2001年夏のシンポジウム(SS2001)を招致する」と立候補し、研究会および学会により承認された。

ところで、メディアアート関係のイベントは、浜松あるいは東海地域ではほとんど開催されておらず、東京や関西でも経済状況低迷を受け、支援するメセナ活動が低下している。そこでSS2001の開催という機会をとらえて、開かれたSUACの浜松駅前という立地を生かし、(1)世界的に活躍する作家を招聘してのコンピュータ音楽コンサート、(2)インスタレーション等のメディアアートの公開ギャラリー展示、(3)創作を進める全国の作家・学生に呼び掛けてのムービー上映/音楽シアター、等のイベントを統合し、さらに期間中に開催するSUACオープンキャンパスとも一体化して協力する「メディアアートフェスティバル」を企画・実施運営することを提案し、平成13年度学長特別研究費プロジェクトとして承認された。助成については情報処理学会とともに、ローランド芸術文化振興財団からの助成も得られた。


図6. 「メディアアートフェスティバル」のポスター

プロジェクトマネジメントは2001年冒頭から開始し、まずコンサートに招聘する作曲家への打診、作品の展示発表を公募するWebページの公開と案内の電子メイルに続いて、中核となるコアスタッフをSUAC学内から公募した。最終的に7名となったコアスタッフ「核虎」は3月後半から8月の本番まで毎週ミーティングを行い、General Producer (筆者)の目・耳・手・足となって、全体を統括する筆者の分身の術を助けた。2001年の講義がスタートすると、筆者の開講する「現代芸術論」「サウンドデザイン」を受講する学生にも講義の一環として広くスタッフ参加を呼び掛け、最終的にはSUAC学生スタッフは90名を越える規模となった。音響スタッフは技術造形学科1回生から有志「音虎」を組織し、外注業者に頼むことなく学内だけで本番を乗り切る特訓講座も行った。最終的なイベントとしての概要は以下である。

		日程
			8/4 8/5 音楽情報科学研究会・夏のシンポジウム
			8/4 8/5 コンピュータ音楽・ライブコンサート
			8/1-8/7 インスタレーション・ギャラリー
			8/3 ムービー/デジタルミュージック・シアター
			8/3 「瞑想空間」ミニライブ
			8/4-8/5 「瞑想空間」インスタレーション展示
			8/3 電子音楽/コンピュータ音楽に関するレクチャー
			8/3-8/5 SUAC CGギャラリー
			8/4 静岡文化芸術大学オープンキャンパス

		主催 静岡文化芸術大学
		   (社)情報処理学会 音楽情報科学研究会

		後援 静岡県・浜松市・静岡県教育委員会・浜松市教育委員会
		   日本コンピュータ音楽協会(JACOM)

		助成 (財)ローランド芸術文化振興財団
以下、メディアアートフェスティバルの中からいくつか報告する。なお、「冥想空間」での企画については、後述する「冥想空間プロジェクト」がこの場を利用して行った企画なので、ここでは重複を避けるために省略しておく。

4.1 コンピュータ音楽・ライブコンサート

内外で活躍する12人の作曲家が2夜連続でSUAC講堂ホールにて開催した、「ライブ」のComputer Musicコンサートである。単にコンピュータ音楽というだけでなく、伝統楽器の演奏家による多様な音楽の拡がり、さらにメディアアートとしての多様性を十分に印象付ける、浜松では過去に前例のない意義深いコンサートとなった。各作曲家の了承の下、公演の記録はSUACでの「現代芸術論」等の講義教材となった。以下、コンサートプログラム順に簡単に紹介・解説する。

赤松 正行 "pray for rain "

パーカッション : 小磯 敏夫
合成音声で提示されたリズムパターンを目隠ししたパーカッション奏者が演奏し、これをコンピュータがライブ認識して正しく再現できると次に進む、という対話的な仕組みにより聴衆も音楽の進行に引き込まれたマルチメディア作品。


図7. "pray for rain"の公演風景

東野 珠実 "I/O" for Sho and Live Computer

笙 : 東野 珠実
作曲者自身が演奏する「笙」に取り付けた呼吸センサ(呼気/吸気の両方向、筆者が制作)によるライブ演奏情報によってリアルタイムCGとライブ音響処理を制御する作品。


図8. "I/O"の公演風景

中村 滋延  Scar(チェロと電子音響とCG)

中村 滋延  Scar(チェロと電子音響とCG)
あらかじめ制作された映像/音響パートをスクリーンに投射しつつ、ライブでチェロ演奏家の演奏がこれに絡むスタイルの作品。インタラクティブ性を強く意識して作曲された。


図9. "Scar"の公演風景

志村 哲  Cyber尺八による《竹管の宇宙VI 鶴之巣籠考》

Cyber尺八 : 志村 哲 技術 : 池淵隆/金森務
作曲者自身が演奏する「サイバー尺八」には、多種のセンサが組込まれており、伝統的な演奏技法から身体動作までを駆使して即興的に演奏音響をライブ生成する作品。


図10. "竹管の宇宙VI"の公演風景

岡本 久  'Balance' for Limber-Row

Limber-Row : 岡本 久
作曲者自身が制作し演奏する世界に一つの楽器"Limber-Row"によるライブ演奏。両手と両足の角度を制御し、さらに両手のバトンによって電子楽器の全ての演奏情報を生成した。


図11. "Balance"の公演風景

小坂 直敏 篳篥とコンピュータのための「千重鏡」

篳篥 : 田渕 勝彦
NTT研究所の研究者でもある作曲家が制作した音響処理システム「おっきんしゃい」を使用し、テープ音響パートと「篳篥」のサウンドの音響信号処理とを組み合わせた作品。


図12. "千重鏡"の公演風景

菅野 由弘 MAZE I - 能管、ピアノと電子音のための

能管 : 一噌 幸弘  ピアノ : 菅野 由弘
あらかじめ電子音楽の手法で制作されたテープ音響パートを背景として、能管とピアノ(作曲者自身の演奏)による即興的演奏が加わった作品。


図13. "MAZE I"の公演風景

水野 修孝 <エチュ-ド集>より<アダム>と<イヴ>

キ-ボ-ド/ピアノ : 岡部 裕美
あらかじめDTM(打ち込み)の手法で制作されたBGMパートMDを背景として、ピアノのライブ演奏、また電子キーボードの演奏が加わった作品。


図14. "アダム"の公演風景

吉田 靖 "non title"

ギター : yasushi yoshida  ミキサー : kenji kasagi
客席の周囲に4チャンネルのPA装置を持ち込み、ステージでなく客席中央で作曲家本人がギターを即興演奏した。そのサウンドはリアルタイム信号処理エンジン"Kyma"により拡張・変奏され、一人の演奏音とは思えない音響を生成した。


図15. "non title"の公演風景

長嶋 洋一 "tegoto" for Koto and live computer

13絃箏/17絃箏 : 三好 晃子
ステージ上での17絃箏/13絃箏の演奏をライブサンプリングし、その場で音響信号処理とともに掛け合いのパートナー音響パートとして生成するシステムにより、「一人即興合奏」を目指した作品。


図16. "tegoto"の公演風景

矢坂 健司 "PG-13"

コンピュータ : PG-13(矢坂 健司、岡田 俊一郎)
インターネット越しに海外とライブセッションを行う計画だったが、ネットワークの制約のため、ステージ上で2人が4台のノートパソコンをLANで結んでライブ演奏した。


図17. "PG-13"の公演風景

莱 孝之 ハープとコンピュータの為の"lucent aquarelle"

ハープ : 彩 愛玲
ステージ上のハープの演奏音響をライブで音響信号処理して拡張する、というタイプの作品。かつてISPWという高性能ワークステーション上で実現できたリアルタイム音響処理が、性能向上によりパソコンでも実現できるようになった。


図18. "lucent aquarelle"の公演風景

4.2 インスタレーション・ギャラリー

ライブComputer Musicコンサートと並んでメディアアートフェスティバルの目玉となったのが、SUAC西側ギャラリーを利用して1週間の連続展示を行った「インスタレーション・ギャラリー」である。全国の作家や大学等に作品参加を公募し、最終的には学外11作家(チーム)、さらにSUACからも4チーム(19名)による作品が参加した。全国からの作品運搬費は予算化して支援し、現地セットアップ支援のSUAC学生スタッフと、SUACを来訪した各作家との交流も実現し、メディアアートをメイキングから身近に体験する、またとない機会となった。以下、展示風景とともに概説するので、個々の作品解説はプログラムをぜひ参照されたい。

常盤拓司 + 中山貴伯

バルーンからの「聞こえない」超低周波振動を体感するサウンドインスタレーション作品。


図19. 作品「座 -Ambient Cycle / Domestic Cycle-」

マッシュルーム・スタジオ+stroma∞(ストロママルチプライ)

球体の水槽の下からプロジェクタの光を投射して幻想的な「動くオブジェ」を実現した。


図20. 作品「夜の入れ物」

武内舞利子

ディスプレイの上に置かれた「蛇口」(センサ)をひねると画面内の光のしずくが落ちる、という作品。


図21. 作品「JAGUCHI」

少年少女科学クラブ

通常はトイレである空間を展示スペースとして、点滴により暗闇で蛍光物質が光り、ピアノ線がサウンドを奏でる。


図22. 作品"fluorescence"

稲尾新吾

「床」の姿のセンサと小窓のディスプレイ、そして超低周波サウンドにより構成した作品。


図23. 物見と物視のためのサウンドインスタレーション

岡本久

6個のホログラフィー円盤を来場者が「回す」ことでサウンドを生成するインタラクティブ作品。


図24. 作品"Mawasu"

佐藤知裕

ロール式オルゴールの上にプロジェクタから映像を投射し、オルゴールを回すことで進展していく作品。


図25. 作品「記憶オルゴール」

塚田浩二 + 大和田健人 + 鳥谷部桜

「箱庭」のように砂と砂利を置き、これを来場者が手でこね回す動作をセンシングしてサウンドを生成する。


図26. 作品"Augmented Garden"

照岡正樹

暗闇から覗き込む来場者の顔が赤外線CCDカメラで撮影されて液晶表示され、幽かなサウンドが奏でられる渋い作品。


図27. 作品「幽風箱 -ゆうふうそう-」

野崎祥子

水槽には水面を振動させるスピーカがあり、周囲の騒音をセンシングして生成されるサウンドと水槽の下からの照明が組み合わされたインスタレーション作品。


図28. 作品"sound transponder"

堀尾寛太 + 大西アキラ + 城一裕 + 松島大介 + Lee Hyun Jung

天井から釣り下げられた「虫」は周囲の物音に反応し、人が近付くと糸をたぐって逃げ、しばらくすると下りてくる。


図29. 作品「ムシーク」

手虎 (SUAC)

シリコンゴムで作った「手」を来場者が握ったり揉んだりすると、対応してサウンドと画面の「顔」が変化する。


図30. 作品「つぶ次郎」

メ四ンパン (SUAC)

円形テーブル上の多数の「蜂」は、来場者が近付いた方向をセンシングして一斉にその方向を向いて羽音を響かせる。


図31. 作品「はち」

アマノミク (SUAC)

「食」をテーマに、来場者が上空のオブジェからの紐を引くと、食欲をそそる色々なサウンドと映像が出現する。


図32. 作品"shocking"

生技の見方 (SUAC)

「幸せ」をテーマとした5つの「箱」を、来場者は覗き込んだり聞き耳を立てて体験するインスタレーション作品。(この作品のみ講堂ロビーにて展示)


図33. 作品「幸せの○」

4.3 ムービー/デジタルミュージック・シアター

テープ音楽作品、映像付きテープ作品、映像作品などの作品発表も公募し、14作品を上演・公演した。また、SUAC学生のCG作品を展示する「SUAC CGギャラリー」も3日間にわたって行い、11人の20作品を展示公開した。

4.4 電子音楽/コンピュータ音楽に関するレクチャー

作曲家・神戸山手女子短期大学専任講師の岡本久氏に依頼して、20世紀の電子音楽・コンピュータ音楽を概観し、21世紀に向かう音楽についての講演を開催した。現代のメディアアートに至ったテクノロジー・アートの歴史について、多くの資料とともに広汎な講演は好評を得た。

5. フランス・ドイツにおける文化交流

このプロジェクトは、最終的には平成13年度学長特別研究費としても一部助成され、2001年9月後半にフランスとドイツにおいて、複数の講演および公演による文化交流を行ったというものである。筆者が中心となって企画推進したこともあり、結果的にはメディアアートに関する活動として大きな成果を得ることとなった。

この企画の発端はIEEEフェロー、ドイツ・カッセル大学(ヒューマンインターフェース・人間工学、指揮者)のGunnar Johannsen教授からの招待によるものである。Johannsen教授が世界中の専門家(工学・音楽・指揮・美学など)に宛てた、「人間の熟達した卓越性とコントロールについての工学と音楽のワークショップ」という国際会議の案内によれば、

"Human Supervisory Control in Engineering and Music"

An international event with the theme Human Supervisory Control in Engineering and Music will be organized in September 2001. This event combines a multidisciplinary exposition of modern technology in the new century, on the one hand, and ambitious cultural support, on the other hand, in a visionary as well as pragmatic manner.
というものであり、筆者はここでテクノロジーアートの作家・研究者としての講演とともに、オーケストラコンサート における作品公演("Visional Legend"[1998])を依頼された。

筆者はさらに、オーケストラコンサートでの曲目「ノベンバー・ステップス」の尺八を演奏する、京都の大師範・三好芫山氏とともに、筆者の作品を演奏する笙奏者・東野珠実氏、さらにドイツ各都市でのアンサンブルコンサートにおいて箏を演奏する三好晃子氏を含む日本人スタッフをまとめる役割も依頼され、全員の渡航費は国際交流基金から助成された。以下はその国際交流基金への申請書類からの抜粋であるが、本企画の目的と意義の理解に有効なので転載する。

本申請の事業は、日本の伝統音楽である雅楽と邦楽、そして日本が世界の先端の一部を担っているコンピュータ音楽の分野での文化交流として、フランスで1回のレクチャー講演と1回のコンサート、ドイツで数回のコンサート公演を行い、伝統的古典音楽とともに、新しく創作したパフォーマンスを発表する、というものである。

前半のフランスでは、フランス文化省の後援のもと1985年にIannis Xenakisにより設立されたCenter for Contemporary MusicのCCMIXスタジオを訪問し、(1)音楽創造に関してCCMIXと交流し、日本の古典音楽である雅楽の響きを代表する「笙」のサウンドを紹介し、さらに、笙をフューチャーした新しい音楽をコンサートの場で世界初演により発表し、(2)コンピュータ音楽の分野で、人間とシステムとのインタラクティブ性の応用分野で先端の研究を進める長嶋が、CCMIXの依頼でレクチャーワークショップを開き、コンピュータ技術を活用した新しい音楽の世界を紹介・講演する。

後半のドイツでは、カッセル大学のGunnar Johannsen教授(IEEEフェロー)の総合プロデュースのもとで、(1)「工学と音楽における人間の卓越したコントロール」と題した国際ワークショップに付帯したKasselでのオーケストラのコンサートの中で、演奏および新作公演を行い、(2)ドイツ国内の都市において、本申請者の4名によるアンサンブルを構成してコンサートを行う。(コンサート企画内容は略)

本事業は単に「日本の伝統音楽を紹介する」というものではない。伝統的な古典音楽(尺八、琴、笙)の継承発展とともに、意欲的に現代音楽等の他ジャンルにも取組む音楽家(三好芫山、東野珠実、三好晃子)と、それら音楽家と交流しつつ実際にコンピュータを組み合わせた作曲・公演活動を行う研究者(長嶋洋一)とがジョイントすることで、従来の「古典伝統芸能の紹介」を超えた、日本で展開し世界に発信している、新しい姿の文化活動の先端を紹介する、というユニークな意義を持つものである。今回は特に現地での新作の世界初演が期待されている。また、コンピュータ音楽の領域で作曲家・研究者として活動する長嶋洋一は、2000年ベルリンでのICMC(コンピュータ音楽国際会議)において、人間と音楽システムとのインタラクティブなコミュニケーションの実現に関するワークショップを依頼され講演した。今回のCCMIXでのレクチャー依頼はこの内容をフランスでも専門家等に講演して欲しい、というもので、笙など伝統楽器を生かした音楽と人間の繊細な息づかいをセンシングする、その先端の音楽的・文化的意義を評価されての招聘である。

本事業により、日本の伝統的音楽の「古典」の持つ深さ、コンピュータテクノロジーと結びついてその可能性を拡大させた展開、そして人間の繊細な伝統的技法と先端技術の結びついた音楽の新しい可能性を、日本文化の紹介とともに広く発信することが期待できる。これは将来、国際的なコラボレーションによる新しい音楽文化の創造にも寄与するものと考えている。

5.1 フランスCCMIXでの講演と公演

本プロジェクトの第1陣として笙演奏家・作曲家の東野珠実氏がパリに向かったのは9月7日、そして筆者が続いてパリに向かったのが9月17日であり、この間の9月11日に米国でテロ事件が起きるという異常事態となったが、空港ごとに厳しくなるセキュリティチェックに翻弄された以外は、全体として計画通りに成功することができた。CCMIXでの講演タイトルは "Sensors for Interactive Music Performance"であり、2001年になって新しく開発した筋電センサ "MiniBioMuse-III"のデモンストレーションも含めて好評を得た。


図34. CCMIXで講演する筆者

CCMIXでのデモンストレーションコンサートについては、依頼があり当初計画より小規模に設定して、ワークショップの後半にライブを行った。長嶋作品としては、新作 "BioCosmicStorm-II" の自演、そして笙のサウンドを聞かせる作品については、当初計画では長嶋作品 "Visional Legend" の予定であったが、メディアアートフェスティバルで東野氏が初演した作品 "I/O" の持参したセットをCCMIXで稼動することに成功したため、こちらを公演した。東野氏はこのレジデントを受け、2002年にもCCMIXを再訪問の予定である。

5.2 ドイツ・カッセルでの講演

ドイツ・カッセルにおける国際Workshopでの講演タイトルは "Composition of "Visional Legend"であり、オーケストラコンサートにおいて欧州初演となる作品の作曲に至る詳細と、テーマであるHuman Supervisionについて講演した。


図35. カッセルのWorkshopで講演する筆者


図36. 「笙」をデモンストレーション演奏する東野氏

5.3 オーケストラコンサートでの公演

上図のように、この国際Workshopではプログラムの一部としてオーケストラのコンサートがあり、コープランド、ベートーベンのオーケストラ作品とともに、一行の三好芫山氏が演奏する武満徹の「ノベンバー・ステップス」(琵琶はアムステルダムで活動するJunko Ueda氏)と、東野氏が笙を演奏する筆者の作品 "Visional Legend" が公演された。以下はその準備および公演の模様である。


図38. コンサートのセッティング風景


図39. 作品 "Visional Legend" 公演機材の一部


図40. 武満徹 "November Steps" 公演風景


図41. "Visional Legend" 公演風景

5.4 アンサンブルコンサートでの公演

オーケストラコンサートの成功に引き続き、三好芫山氏・東野珠実氏と筆者に加えて箏の三好晃子氏も加わった4名による特設アンサンブルチームにより、カッセル(9/25)とハンブルク(9/26) において、「日本の伝統と現代」と題するアンサンブルコンサートを開催した。プログラムは以下の2部構成(前半は古典、後半は現代)で、いずれも盛況となった。
		Part 1 : Japanese Traditional Music

				"Tsuru no Sugomori" (Shakuhachi solo) 
				"Midare" (Koto solo) 
				"Hirajyo no Choshi" (Sho solo) 
				"Ichikotsu" (Shakuhachi and Koto) 

		Part 2 : Expanded Traditional/Contemporary Music

				"Bio-Cosmic Storm II" (BioSensor and live Computer)
				"Visional Legend" (Sho, Graphics and live Computer) 
				"tegoto" (Koto and live Computer)
				"Getsuro" (Shakuhachi solo) 
				"Japanesque Germanium" (all 4 players)

後半では、「月露」(三好芫山氏の尺八独奏曲の新作) 以外は全て筆者の作曲であり、最終曲は全員のライブセッションを行う作品として構成・作曲した。

以下、その公演の模様の一部の写真とともに、既にメディアアートフェスティバルのコンサートのところで解説した"tegoto"以外の作品の概要を簡単に紹介する。


図42. "BioCosmicStorm-II" 公演風景(Kassel)

新開発した両腕16チャンネル筋電センサ"MiniBioMuse-III"を楽器として使用し、そのMIDI出力からMax4/MSP2によりリアルタイムに楽音合成したサウンドを生成する作品。


図43. "Visional Legend" 公演風景(Kassel)

筆者の制作した「笙ブレスセンサ」による演奏センサ情報からKymaによる笙サウンドのリアルタイム音響信号処理を制御し、さらにコラボレータ(SUAC学生2名)とともに制作したリアルタイムCGシステムをライブコントロールした作品。


図44. "tegoto" 公演風景(Kassel)


図45. "Japanesque Germanium" 公演風景(Kassel)

アルゴリズム作曲の手法であらかじめ制作した背景音響パートCDのもとで、尺八・笙・箏のそれぞれが即興とともにセッションする、というコンセプトの作品。筆者はリアルタイム音響生成ソフトSuperColliderをトラックボールで「演奏」してセッションに参加した。


図46. "Japanesque Germanium" 公演風景(Hamburg)

6. 「冥想空間」プロジェクト

このプロジェクトは、平成12年度後期デザイン学部長特別研究費および平成13年度デザイン学部長特別研究費のプロジェクトとして継続し、現在進行形で進めているものである。SUACの施設の中でも「芸術文化センター」は重要な位置付けをもち、その中でも通称「瞑想空間」と呼ばれるシンボリックな空間は、そのユニークな構造、豊富な残響と独特の視覚的効果を持つ高い壁面、という特徴を持った「目玉」である。本プロジェクトはこの空間を本学ならではの一種の「作品展示空間」として活用するための検討やシステム開発を進めるとともに、実際にこの作品展示システムを活用した具体的なインスタレーション作品の制作やパフォーマンスを行う、というものである。


図47. 「冥想空間」内で天井を見上げたところ

6.1 平成12年度の成果

初年度となった平成12年度には、まず最低限のプレゼンテーション環境を構築することを目的として、図48のようなシステムを実現するために、機材整備、システム開発、ソフトウェア環境整備、実験などを行った。「冥想空間」の4つの壁面をスクリーンとしてグラフィクスを投射するための4台のビデオプロジェクタについては、工房(GWS室・マルチメディア室・電子制御機器制作室・CAD/CAM室・空間演出実験室)に平成12年度末に導入されたプロジェクタを同一機種として選定し、これを必要な時に借用する体制とした。


図48. 「冥想空間」システムブロック図

このシステムを前提として、[赤坂知也+平野砂峰旅]氏にサンプルとなるメディア・インスタレーション作品の制作を委嘱した。この完成した委託作品 "CutOut" は2001年5月27日のSUAC一般公開デーにおいて発表披露された。図49はこの作品のシステムブロック図である。


図49. 作品「CutOut」システムブロック図

6.2 メディアアートフェスティバルでの成果

2001年8月3日-5日の「新世紀メディアアートフェスティバル」においても「冥想空間」の実験の場としての活用を目指し、以下のようなパフォーマンスと展示を行った。

6.2.1 冥想空間アラペラライブ

ネット上にのみ存在する仮想的な男声アカペラコーラスグループ "Ensemble Virtual Resonance 2" によるライヴを、「冥想空間」の豊富な残響を利用して開催した。このライブについてはメディアアートとしての性格はなく純粋な音楽公演であるが、ワイヤーで吊り下げられたフレームに3台のスポットライトを設置して、プロジェクトの次のステップである「照明演出」の実験を行った。曲目は「バード Ave Verum Corpus」と「タリス エレミア哀歌 I」であった。


図50. 冥想空間アカペラライブの公演風景

6.2.2 冥想空間Computer Musicライブ

上述のヨーロッパ公演で発表した、東野珠実氏の笙による筆者の作品"Visional Legend"の公演を行った。


図51. 冥想空間Computer Musicライブの公演風景

6.2.3 冥想空間インスタレーション展示

「冥想空間」の壁面を利用した3面スクリーンと空間音響システムにより、映像/音響作品の展示を行った。通常であれば「上映会」であるが、この場においては環境要因の効果が大きく、会場を要素の一つとした一種のインスタレーション展示という企画となった。発表された作品は以下である。
			赤坂知也 + 平野砂峰旅 CutOut
			内田涼子 白昼夢
			芸文映像企画班 Artificial Life
			大山千賀子 + 長嶋洋一 OOyama World

6.2.4 照明演出、「癒し」の演出へ

このように「瞑想空間プロジェクト」を進めてくる中で、この空間をより活用するための新たな検討課題や、研究を深めて人間の感性や「癒し」の領域へ展開していきたい、という新たな視点やテーマがいくつも出てきた。また、時間的・予算的な理由から次の段階へと棚上げした継続テーマや、作品展示支援システムとして新たに盛り込んでいきたい機能も多数出てきた。本稿執筆時点で検討しているのは以下のような構想であり、刻々と実験・検討を進めている。

[1] 現状システムを拡張し発展させる手法で、4台のビデオプロジェクタを動的に制御して、静的な投射を超えたインタラクティブな演出を実現するために、映像ライブ制御システムを改良開発する。
[2] 「瞑想空間」の可動バトンに、取り外し可能な(1)複数の照明機器、(2)ロボットアーム様の可動装置を設置し、作品展示支援システムと統合化されたコンピュータ制御により、ダイナミックなリアルタイム照明制御を実現し、また動的オブジェとしての演出を実現するためのシステムの開発を目指した実験を行う。
[3] 「瞑想空間」の残響特性の音響計測を実施し、マルチメディア作品の効果的な演出を実現するためのオリジナルサウンドシステムの実現に向けた予備実験を行い、次段階の研究に継続する。
[4] より広く「瞑想空間」の存在を活用するためのテーマとして、キーワード「[癒し]の演出」「五感に訴える」に関する調査・検討・実験・試作を行い、本学ならではの特色ある研究の拠点としての活用する。

7. おわりに

メディアアートに関するSUACでの2000年から2001年の活動について報告した。いずれも単発で終わることなく将来への課題や展望という収穫があり、この新しい領域での今後の本学の活動が期待されるようになってきた意義は大きいと考える。今後も、自由な発想と意欲的なテーマの発掘を念頭に、才能ある本学の学生や教員とのコラボレーションにより、新しい創作に挑戦していきたい。

参考文献

(1) http://nagasm.org/
(2) 長嶋洋一 : 「コンピュータサウンドの世界」、CQ出版、1999年
(3) 長嶋洋一 : 「作るサウンドエレクトロニクス」、ASL出版、1999年
(4) 長嶋・平賀・平田・橋本編 : 「コンピュータと音楽の世界」共立出版、1998年
(5) 長嶋洋一 : 「インタラクティブ・メディアアートのためのヒューマンインターフェース技術造形」、

静岡文化芸術大学紀要・第1号2000年(静岡文化芸術大学)、2001年 (6) http://www.engineeringandmusic.de/ (7) http://nagasm.org/1106/

PDF版